源丨本文综合自中新经纬、天眼查、观察者网、21视频(王英旭、实习生 刘洁)、老板联播等
2019年对于进入投资圈10年的王思聪来说似乎是“水逆”之年。
继香蕉计划后,王思聪拿5亿“零花钱”练手的普思资本股权也被冻结了。
而在此之前,王思聪担任高管或股东的多家公司股权也遭到了冻结。
据计算,截至发稿,王思聪名下冻结股权价值合计已经超过8445万元。
2019年对于进入投资圈10年的王思聪来说似乎是“水逆”之年。
继香蕉计划后,王思聪拿5亿“零花钱”练手的普思资本股权也被冻结了。
图片来源 / 图虫创意
天眼查数据显示:
由王思聪担任董事长并持股100%的北京普思投资有限公司(简称“普思资本”)股权遭到上海市宝山区人民法院冻结,具体冻结数额不详,冻结日期自2019年10月15日起至2022年10月14日。
北京普思投资有限公司司法协助详情。图片来源 / 天眼查
而在此之前,王思聪担任高管或股东的多家公司股权也遭到了冻结。
据中新经纬报道,记者计算,截至发稿,王思聪名下冻结股权价值合计已经超过8445万元。
此外,王思聪一手创办的熊猫直播在今年3月宣告破产,其运营主体上海熊猫互娱文化有限公司多次被法院列为“老赖”。
起底王思聪的投资版图

普思资本可以说是王思聪的投资起点。
公开报道显示,2009年,王健林对外表示王思聪不愿介入万达的管理,因此给了他5亿元“任其折腾”,于是王思聪成立了普思资本。
图片来源 / 天眼查
普思资本的英文名“Prometheus” 取自希腊语,意思是“先见之明”。据其官网披露,普思资本目前已投资规模超过30亿人民币。
从官网信息来看,普思资本先后投资过大众点评、英雄互娱、人人车、汉拿山等项目,不少项目投资回报颇丰,王思聪的投资眼光也得到了市场认可。
以2016年入股的英雄互娱为例,在借壳新三板后英雄互娱估值一度冲到了200亿元。
普思投资抛售英雄互娱股票后在短短半年内赚取5181万元,收益率高达65%。
普思资本部分投资案例。图片来源 / 普思资本官网
去年,IG一举拿下全球冠军,更是让王思聪和他的电竞帝国赚足了眼球。
早在2011年8月,王思聪便在微博上宣布“强势进入整合电竞”,并收购了当时面临解散的CCM战队,组建IG电竞俱乐部。七年过去,随着最后一波猛烈的进攻,IG一举拿下召唤师冠军奖杯。
除了IG以外,天眼查数据显示,普思资本还投资了多家游戏公司,包括云游控股、创梦天地、ImbaTV、钛度科技、网鱼网咖等,其在电竞圈的整合动作也颇受外界关注。
此外,王思聪在2015年先后创立了熊猫互娱和香蕉游戏传媒,基本上涵盖了电竞行业整条产业链,一个泛娱乐帝国也初现雏形。
天眼查信息显示,王思聪在20家公司担任法人,在33家公司担任股东,在34家公司担任高管,对107家企业拥有实际控制权。
王思聪的商业版图。图片来源 / 天眼查
《2018胡润80后财富继承富豪榜》显示,王思聪个人身价已经达到50亿元。
据此计算,当初王健林所给的5亿元在不到十年内已经增长了近10倍。而与之形成对比的是,王健林旗下的万达电影市值从2015年的1600亿元高峰滑落,至今市值约为300亿元,缩水近五分之四。
看起来,小王颇有赶超老王之势。
图片来源 / 图虫创意
王思聪旗下公司今年坏消息频传
泛娱乐帝国布局现颓势?
进入2019年,王思聪旗下的公司频频传来坏消息。
熊猫直播倒闭
熊猫互娱被两次列为失信被执行人
今年3月初,熊猫直播在官方微博上宣布将关闭服务器,证实了此前有关熊猫直播倒闭的传言。天眼查数据显示,今年7月1日和8月2日,熊猫互娱被法院两次列为失信被执行人,也就是俗称的“老赖”。
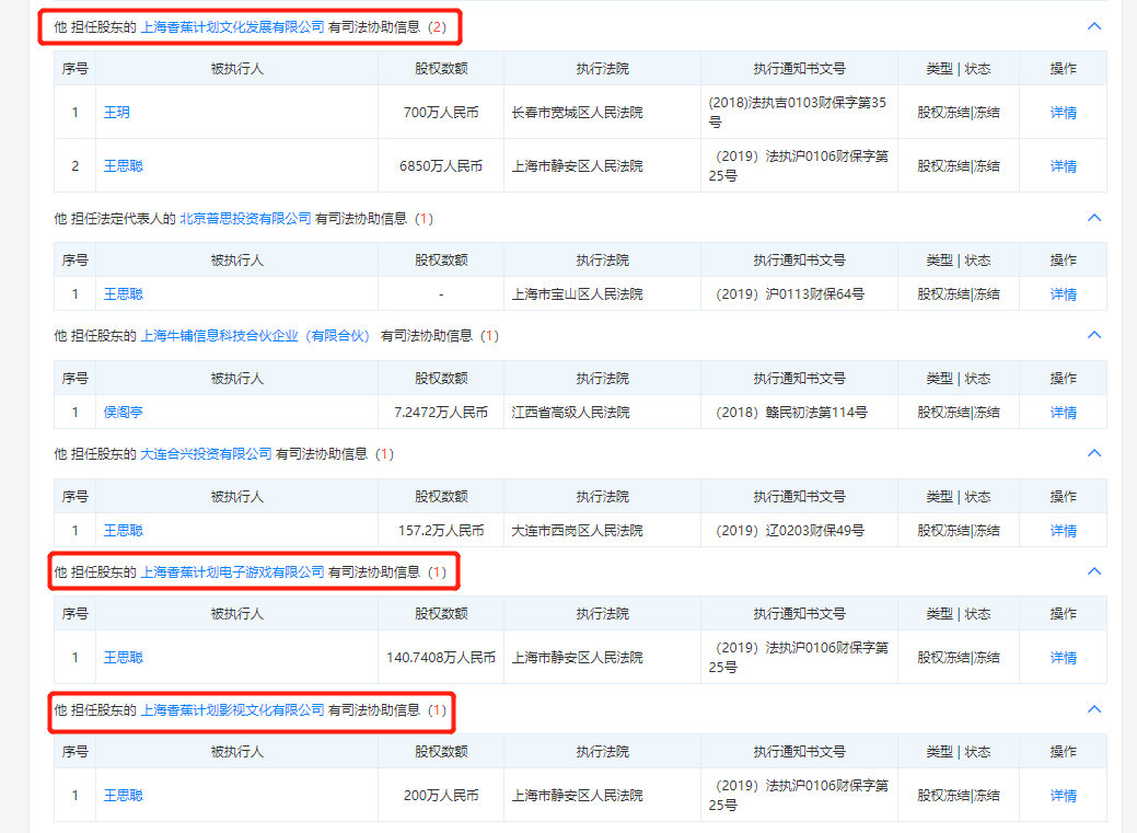
香蕉计划旗下多家公司股权遭冻结
冻结股权价值超7000万元
今年下半年以来,其亲手创办的香蕉计划旗下多家公司股权陆续遭到冻结。
香蕉计划旗下包括游戏、体育、经纪演出、影视、音乐等多个子公司。
从司法协助信息来看,目前上海香蕉计划娱乐文化有限公司、上海香蕉影视计划文化发展有限公司、上海香蕉计划电子游戏有限公司三家公司均有股权遭到冻结,冻结股权价值超过7000万元。
图片来源 / 天眼查
资料显示,香蕉计划娱乐文化有限公司是香蕉娱乐的运营主体,是香蕉计划旗下专营艺人业务、演出经纪与音乐业务的公司,于2017年11月成立,由王思聪担任董事长。香蕉计划娱乐文化有限公司旗下有香蕉计划音乐和香蕉计划演出经纪两家公司,负责旗下艺人的各项事宜。两年来,香蕉娱乐通过Trainee18计划推出林彦俊、尤长靖、傅菁、强东玥分别在《偶像练习生》与《创造101》中都有出色表现。
王思聪水晶荔枝娱乐800万股权遭冻结
王思聪持股80%的上海水晶荔枝娱乐文化有限公司(下称“水晶荔枝娱乐”)则在今年7月15日股权遭到冻结,冻结日期至2022年7月14日,王思聪所持800万元股权遭到冻结。
信息显示,水晶荔枝娱乐由王思聪和演员林更新共同创立。

图片来源 / 天眼查
王思聪普思投资股权被冻结
17日,天眼查数据显示,由王思聪担任董事长并持股100%的北京普思投资有限公司股权遭到上海市宝山区人民法院冻结,具体冻结数额不详,冻结日期至2022年10月14日。
据中新经纬记者计算,截至发稿,王思聪名下冻结股权价值合计已经超过8445万元。
根据胡润百富榜的最新数据,王健林家族以1200 亿元财富排名第九,不到一亿元的股权冻结相比于整个家族的财富仅仅是九牛一毛,更不及王健林的“一个小目标”。
不过,对于王思聪来说,要想在泛娱乐领域做出一番成绩,真正撕下“富二代”的标签,需要的不仅是“先见之明”或“风口一日游”,更是所投企业长期稳定可持续的发展。
乐视体育成败笔
即便是首富之子,投资之路也不会一帆风顺,王思聪和普思资本在乐视体育上便栽了一个大跟头。
图片来源 / 图虫创意
2015年,在乐视体育最风光时期,普思资本正式入股乐视体育,持有乐视体育3.96%股份,成为乐视体育第八大股东。
2016年12月,乐视体育在一次股东会议中披露,乐视体育在未经董事会或股东会同意的情况下,擅自向其关联方乐视控股(与乐视体育、乐乐互动、乐视网均为贾跃亭实际控制的公司)出借40多亿元的资金。
由于资金被关联公司占用,乐视体育的正常经营活动受到严重影响,大量业务由于资金紧张而无法进行,甚至因无法偿还对外欠款而被追诉、承担责任,一众股东的投资权益遭受损失,这其中便包括普思资本。
在资金占用问题久久无法解决后,普思资本和其他投资机构将乐视体育告上了法庭,要求乐视体育赔偿损失。据乐视体育公告显示,普思资本要求裁决乐视体育赔偿经济损失9785.16万元。
从目前乐视的现状来看,王思聪要讨回这笔近一亿元的投资恐非易事。7月3日,天眼查数据显示,乐视体育文化产业发展(北京)有限公司(简称“乐视体育”)已被吊销营业执照。
王思聪花1万5吃日料,打了差评
王思聪看走眼的,除了乐视体育,最近还有一家日料店让王思聪打了差评。
14日,王思聪给成都某日料店的一条差评被网友翻了出来,并在网络热传。

这条评价中,王思聪晒出了自己15708元的消费账单,给出了口味1、环境3、服务3、食材4,总分1星的差评。
王思聪表示,给出一星是因为:
1、这家店的店长故意撒谎,称自家海胆贵是因为“日本封海”;
2、服务一般,用餐2小时没有换过热茶;
3、寿司无法直视,太外行;

截止目前,王思聪的这条评价已经有了近21万阅读、5000多条点赞、近4000回复。
点评网站显示,这家日料店人均价格为1541元。目前,商家主推的正是被王思聪吐槽的“高级海胆刺身”。

王思聪回应称,写这条点评主要是为了帮大家排雷,“这家的价格贵的离谱,但菜太一般了,对不起这个价位,寿司更是无法直视。”


不过,许多网友看到他晒出的支付记录还是吓了一跳,他的银行卡尾号居然是8888,这也太秀了吧。
随后,不少网友更是现身说法,表达了和王思聪相同的感受,还有部分网友则直接给商家打出差评。

面对质疑,昨晚,该商家回应称:王思聪所说皆因主管内容表述不够准确。
至于王思聪所说,店里的寿司很一般不好吃,商家则从服务的角度进行了回答,称“为了保证口感,特意分了两次提供”。












