偶像男团R1SE最近遭遇水逆,继任豪、夏之光接连被曝出恋爱绯闻后,C位周震南陷入了新一波的舆论风波中。
10月26日晚,周震南终于发声,直言自己骤然面对现实,内心非常煎熬,愧疚对家人关心不够,没有提早发现存在的问题,并表示将帮助父母挺过难关。
R1SE成员为何迎来第三波道歉?简单回顾一下,近日有网友爆料周震南父母旗下公司曾被频繁催债,且被法院列为"失信被执行人",也就是俗称的“老赖”。
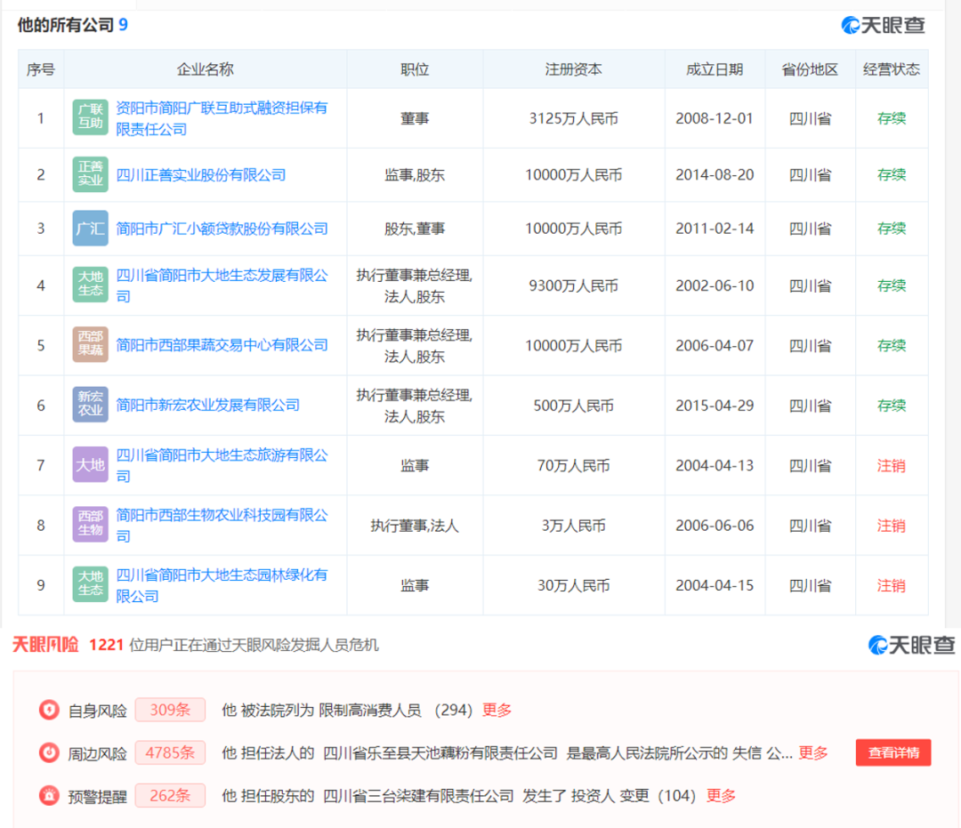
根据天眼查,CBNData星数发现周震南父亲旗下有9家公司,其中3家已经注销,且相关风险提示高达5200多条,其中“限制高消费人员”的文字赫然在列。
爆料一出,便引发了不少网友关注。一方面R1SE本就处在风口浪尖之上,另一方面活跃于大众视线的周震南展露出的一直是“富贵”人设,反差之下,周震南理所当然也遭遇了口碑危机。
10月25日,周震南父亲的公司和周震南的经纪公司哇唧唧哇迅速发声明进行回应。前者称已在与各方积极协调处理,后者则表示相关网友散播信息时,恶意揣测旗下艺人周震南与此商业纠纷有关联,将依法取证保留进一步追究法律责任的权利。
彼时,虽然娱理报道称,有律师表示周震南不应承担父母的债务,但沸腾的舆论对于周震南的失声并不满意。微热点数据显示,在周震南相关词云中,“老赖”、“受损”、“谴责”等负面意味词语成为了高频词。
图片来源:微热点
周震南的19个代言会受影响吗?
除了唱跳爱豆,作为艺人的周震南更是承载多个品牌形象的偶像符号。2018年,周震南参加《创造营2019》成为C位,并以偶像组合R1SE开展活动,凭借着不俗的唱跳实力和讨喜的性格,周震南迎来了自己事业的上涨曲线。
根据CBNData星数不完全统计,以R1SE成员出道后,周震南受到了19个品牌的青睐。在2020年,新增代言10个,且头衔的分量并不低,从亚太区代言人到首位代言人,周震南的品牌吸引力可以说是男偶像中的佼佼者。
CBNData星数发布的明星消费影响力数据显示,周震南近两年的消费人气指数呈现稳步上升的趋势。
此外,今年他还担任了《明日之子乐团季》、《姐姐的爱乐之程》等4档节目的常驻嘉宾,参加《吐槽大会》、《快乐大本营》、《极限挑战》等王牌节目,上升势头明显。
因此,当负面舆论持续发酵,是否会对其事业产生一定影响?
综艺方面,有消息传出周震南参加的《姐姐们的爱乐之城》正在火速剪辑掉他的镜头,随后有相关方面人员下场辟谣,#剪辑师否认周震南镜头被剪#也很快登上热搜。
但与此同时,也已经有品牌开始“避嫌”。有网友发现,周震南原本会在10月26日夜晚进行品牌直播,而在舆论沸腾之后品牌官微已经搜索不到相关信息,当晚周震南也并未出现在直播间。
截至目前,并未有其他品牌选择正面回应,此时静等风波过去,或许是最明智的公关策略了。不过,登上热搜的周震南的粉丝依然在努力声援偶像,在粉丝经济越发红火的当下,粉丝的买单力度而非大众观感似乎更能决定偶像的议价权,显然品牌已经深谙此道。
例如,此前受恋情风波影响R1SE成员夏之光,在暂停活动的30天内依然官宣了两个代言;同样被曝恋情的李汶翰在道歉后,也迎来了新的商业资源。相对孜孜不倦讨论偶像失格的看客,品牌明显更尊重愿意真金白银消费的热血粉丝。
有理由推断,只要周震南有能力维持住自己的流量池,不仅现有的品牌不会放弃他,或许还有更多的商业资源在排队的路上。











