又是一个时代的眼泪。曾经火遍大江南北的“神剧”,如今却被拍卖,背后的影视公司早已宣告破产,不禁令人唏嘘!
康熙微服私访记母带被拍卖
起拍价835.2万元
近日,阿里巴巴司法拍卖网络平台挂出电视连续剧《康熙微服私访记》第一至五部权利及母带,将于6月20日上午10时起拍,起拍价835.2万元。截至目前,本次拍卖无人报名,但却吸引了4189次围观。

根据拍卖公告,拍卖中提及的权利包括《康熙微服私访记》第一至四部在中国大陆市场范围内、第五部在全世界范围内享有的全部人身权及财产权等著作权(版权)以及衍生权利(包括但不限于放映权、信息网络传播权、改编权等)。

据阿里巴巴司法拍卖网络平台介绍,《康熙微服私访记》第一至五部剧本著作权属于巨星公司,广东巨星影业有限公司享有剧本的改编权等人身权和财产权。
具体来看,巨星公司在中国大陆市场范围内对《康熙微服私访记》(简称《康》剧)第一至四部、在全世界范围内对《康》剧第五部享有的全部人身权及财产权等著作权(版权)以及衍生权利,包括但不限于放映权、信息网络传播权、改编权等。此外,材料包括所有选集的标清字幕母带,30集(全)对白本(台词),第17186号《电视剧制作临时许可证》复印件。
该系列作品曾火遍大江南北
据悉,《康熙微服私访记》是广东巨星影业有限公司出品的系列古装电视剧,由张子恩、张国立、孙树培执导,张国立、邓婕等主演。该剧一经播出,就受到观众的喜爱,系列作品曾在全国创下极高的收视纪录。



背后影视公司早已宣告破产
然而,早在2017年2月21日,法院就已裁定受理巨星影业的破产申请。2020年10月27日,巨星影业迎来破产拍卖,公司名下的国有土地使用权及地上建筑物,被以2304.56万元的起拍价打包拍卖。
天眼查数据显示,广东巨星影业公司诞生于1994年,前身为“珠影明星创作室”,自1995年开拍处女作电影《广州故事》之后,又接连拍出了《广州教父》《鸦片战争演义》《夜莺呼叫》《反贪风暴》等多个影视作品。公司的法人、实控人为邓建文。
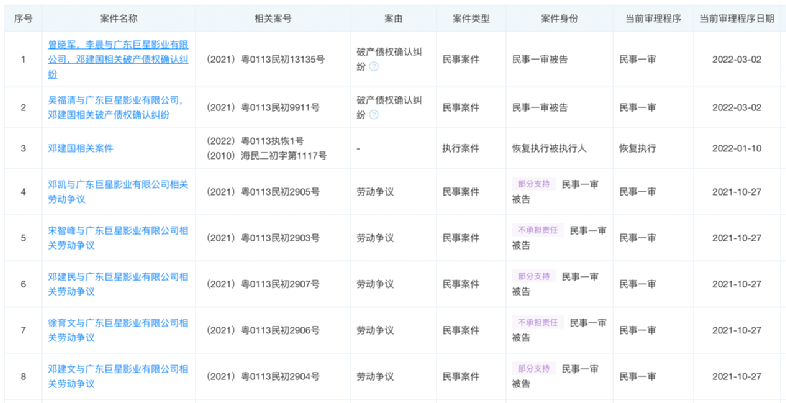
截至目前,广东巨星影业有限公司涉及20余个相关案件,案由多涉及破产债权确认纠纷、劳动争议、著作权许可使用合同纠纷等。其中最近的一起在2022年3月2日开庭,案件为曾晓军、李晨与广东巨星影业有限公司、邓建国相关破产债权确认纠纷。

同时,邓建文也因债务问题被“限高”。2018年8月,东莞市第三人民法院向其发布限制消费令,其中表示,因此前的合同纠纷巨星影业未按执行通知书指定的期间履行生效法律文书确定的给付义务,因此根据相关规定,对该单位采取限制消费措施,同时对巨星影业主要负责人、实际控制人邓建文实施限制消费措施。

另外在2019年9月,巨星影业因通过登记的住所或者经营场所无法联系的原因,广州市工商行政管理局番禺分局将其列入经营异常名录。











